Transformador Inundado 1.5VA 230VAC 18V 83mA PCB MYRRA
4,92 €
Com IVA
Tipo de transformador: Inundado
Potência: 1.5VA
Voltagem original: 230V AC
Voltagem secundária 1: 18V
Corrente de enrolamento secundária 1: 83mA
Montagem: PCB
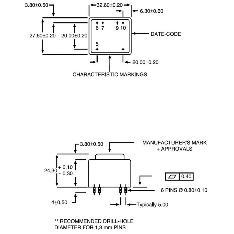
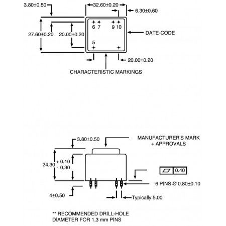
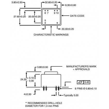
Classe térmica: T 70B
Liderar o enrolamento secundário: 7-9
Liderar o enrolamento primário: 1-5
Dimensões externas: 32.6x27.6x24.3mm
Duração elétrica de isolamento: 4kV/60s
Fabricante: MYRRA
-
Loja De Aveiro0 un.
- MYRRA-44089
- Electrónica e Componentes
-
Transformador Inundado 1.5VA 230VAC 18V 83mA PCB MYRRA
Detalhes do Produto
MYRRA-44089























